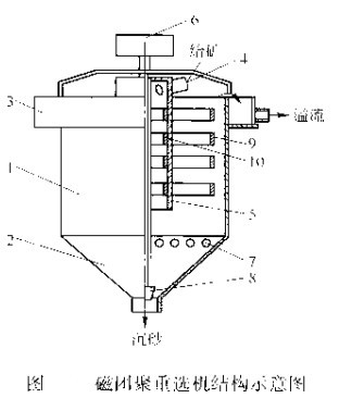
選礦設備磁團聚重選機是選別磁鐵礦石的一種設備,它在磁選工藝流程中一般處理中間位置,選別產物不是*終產品。磁團聚重選機是磁力脫水槽的一種改進型,其結構如下圖所示:

1-圓柱筒體;2-圓錐槽體;3-溢流槽;4、給礦管;5~給礦筒;6-排礦口調節執行器;7-上升水管;8-排礦膠砣;9-外磁系;10-內磁系
1、基本結構:槽體上部為圓柱形筒體,下部為錐形,錐角90℃。錐體部位有上升水流裝置,錐頂為排礦口,排礦口大小可通過電動執行器提起或放下膠塞米調節,筒體中央為給礦筒,筒體上部周邊為溢流堰。該機*為關鍵的是點陣式磁系,它由永磁塊組成,分為內外兩層,每層上下有四圈,內磁系位于給礦筒內側,外磁系位于槽體與給礦筒之間,每圈都由若干個磁體沿圓周等距離排列,在槽體內造成不均勻磁場,內外磁系相對的空間場強較高,約10~20kA/m,上下兩層之間的空間磁場則很弱。
2、工作原理及分選過程。由槽底給入上升水,水流在槽內呈旋轉狀態,礦漿經給礦桶給入槽內,磁性礦粒首先被內磁系磁化,產生磁團聚向下沉降,隨向上向下場強大小的交替變化,磁性礦粒也經過團聚-松散-團聚的交替變化。礦粒團聚時會加速沉降,松散時,裹在磁團中的雜質被上升水流沖走,使磁性物品位提高。槽內礦漿濃度由上至下逐漸加大,產生類似重介質的作用,脈石和連生體隨上升水流上浮,*后由溢流堰排出,磁團在重力作用下克服上升水流作用,下沉到槽底,*后由排礦口排出。
3、磁團聚重選機的操作要點:(1)磁聚機必須保持給礦量和水量穩定,給礦量不穩時,要及時調整排礦口,使溢流大小合適,不跑黑。(2)供水壓力穩定。